

QS双梁起重机
产品型号: QS型
起升吨位: 5、10、16吨
起升高度: 18、20、26、28米
适用跨度: 10.5-31.5米
工作级别: A6
QS型桥式起重机产品介绍:
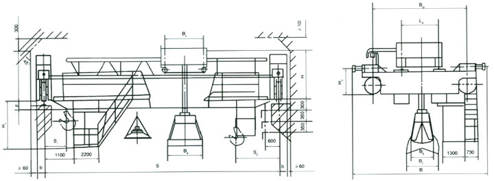
QS型三用桥式起重机的基本构造与吊钩桥式起重机相同,带有可卸的起重电磁铁和电动抓斗。根据需要可以用吊钩吊运整体物品,也可以在吊钩上挂一个电动抓斗装卸散粒物料,还可以把抓斗卸下挂上起重电磁铁吊运黑色金属。这种起重机适用于吊运种类经常变化的货物,且生产率要求不高的场合。工作制度为重级或A6-A7。
QS型桥式起重机结构简图:

plant and equipment
Related products
18568169992
扫一扫 关注我们